> 適用范圍



一、產品概述
DSW-A系列設備的設計主要是對生活污水和與之類似的工業有機污水處理,其主要處理手段是采用目前較為先進成熟的生化處理技術——生物接觸氧化法,水質參數按一般生活污水水質設計計算,按BOD5平均200mg/l,出水BOD5按20mg/l設計。共有七部分組成:(1)初沉池(2)生物接觸氧化池(3)二沉池(4)消毒池、消毒裝置(5)污泥池(6)風機水泵等配套(7)電控系統。
二、適用范圍
該設備適用于住宅區、賓館、學校、礦山、工廠等的餐飲洗浴生活污水;醫院、療養院等生活有機污水;與之類似的工業有機污水處理。
三、產品特點
A、可埋入地表以下,對周圍環境無影響;
B、污泥產生量極少,定期抽排即可;
C、全自動控制,無需專人管理;
D、操作簡單,維修方便;
E、工藝成熟先進,運行效果穩定可靠;
F、設備使用壽命長;
G、可與其他設備自由組合,獨特設計,適用于多種場合。
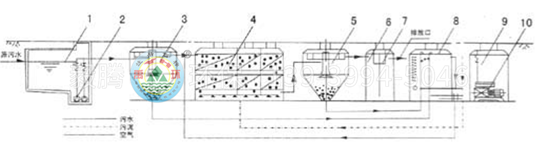
四、DSW—A設備工藝流程簡圖

1.調節池(不在設備內)2.潛污泵(二臺一備一用)3.初沉池4.三級接觸氧化池5.二沉池6.消毒池7.消毒裝置8.污泥池9.風機房10.風機(二臺交替運行)注:DSW-A(0.5-5)設備不設初沉池,污水直接進入接觸氧化池;
接觸氧化池為二級,二沉池的污泥自流至污泥池。污泥采用厭氧消化。


五、DSW-A設備結構與特點
DSW-A設備因為埋地設置,維護與保養較為困難,因此在設計中該設備就考慮了它的免維護性,整個設備結構合理可靠,同時也考慮到即使發生一些故障,也可通過設備的各檢查孔進入設備內。
DSW-A設備所有設施均設置在若干個箱體內,箱體采用A3鋼板制作,鋼板厚度8mm,各箱體用無縫鋼管聯接,設備內外均采用化工部推廣產品氯磺化聚乙烯防腐涂料,設備一般涂刷該涂料8道:2道底漆6道面漆,防腐壽命一般可達10年以上。
整套DSW-A設備設計維護保養周期為10年。
六、DSW-A設備處理量與進出水BOD關系表
進水BOD5(mg/l) | 200 | 300 | 400 | 200 | 300 | 400 | 500 | 300 | 400 | 500 | |
出水BOD5(mg/l) | 20 | 20 | 20 | 30 | 30 | 30 | 30 | 60 | 60 | 60 | |
處理水量 | A-0.5 | 0.5 | 0.4 | 0.33 | 0.5 | 0.4 | 0.38 | 0.3 | 0.5 | 0.43 | 0.38 |
A-1 | 1 | 0.8 | 0.65 | 1 | 0.9 | 0.75 | 0.6 | 1 | 0.85 | 0.75 | |
A-3 | 3 | 2.4 | 1.95 | 3 | 2.7 | 2.25 | 0.8 | 3 | 2.55 | 0.25 | |
A-5 | 5 | 4 | 3.25 | 5 | 4.5 | 3.75 | 3 | 5 | 4.25 | 3.75 | |
A-10 | 10 | 8 | 6.5 | 10 | 9 | 7.5 | 6 | 10 | 8.5 | 7.5 | |
A-20 | 20 | 16 | 13 | 20 | 18 | 15 | 12 | 20 | 17 | 15 | |
A-30 | 30 | 24 | 19.5 | 30 | 27 | 22.5 | 18 | 30 | 25.5 | 22.5 | |
七、DSW-A設備全自動微機控制柜
1.手動及檢查電路2.自動控制電路具體使用說明如下:
每臺設備配置兩臺水泵、兩臺風機及相應控制閥門;
水泵為一備一用,交替運行;工作液位自動啟動,低液位自鎖,警戒水位二臺同時啟動,兩臺水泵可聯動、分動;
風機為一備一用,交替運行,兩臺風機可聯動、分動;
設備長期停運,為保證生物膜的正常生長風機可定時間歇啟動;
風機、水泵可配備自動檢測聲光報警系統,并配有過流、過壓、缺相護電路;
沉淀池排泥為時序控制。

